您现在的位置是:首页 > CAD画图 > CAD画图
中望CAD中的轴测图的绘制方法
本文转载来源:zwcad.com zwsoft.cn 中望CAD官方教程.如果作者或相关权利人不同意转载,请跟我们联系,我们立即删除文章。2021-05-08
简介轴测图立体感强、直观性好,在工程上广泛应用,但其尺寸标注麻烦,许多人标注不规范,根据机械制图国家标准的规定,结合工作实践,现阐述CAD中轴测图的尺寸标注方法如下。 1、
轴测图立体感强、直观性好,在工程上广泛应用,但其尺寸标注麻烦,许多人标注不规范,根据机械制图国家标准的规定,结合工作实践,现阐述CAD中轴测图的尺寸标注方法如下。
1、错误的标注:

这是用“线性”标注,显然是很错误的。

这是用“对齐”标注,也不对。
2、正确的标注是:


正确标注的原则是:
(1)尺寸数字的方向与尺寸界线的方向一致;
(2)尺寸数字与尺寸线、尺寸界线在一个平面内。
3、标注方法:
(1)用“标注”——“倾斜”菜单命令,选中400的尺寸,捕捉长方体的端点为基点,给出倾斜的方向:

(2)确定后,尺寸界线发生了倾斜,符合了标注要求,但尺寸数字还是不正确。此时应该把尺寸数字旋转-30度:

(3)打开“文字样式”,新建二个新样式,样式名为“30”和“-30”,倾斜角度分别是+30度和-30度:


(4)选中400尺寸,将其置于-30的文字样式中,立刻得到正确的标注:

(5)同样用“标注”——“倾斜”菜单命令,给出倾斜方向,得到:

(6)将400文字旋转+30度,得到正确的标注:

(7)用相同的“倾斜”和“旋转”方法,得到宽度和高度方向的正确标注:




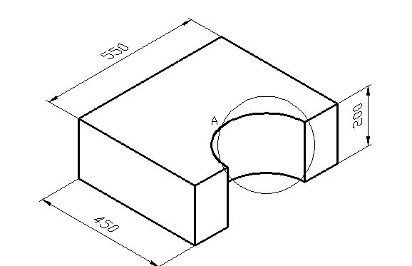
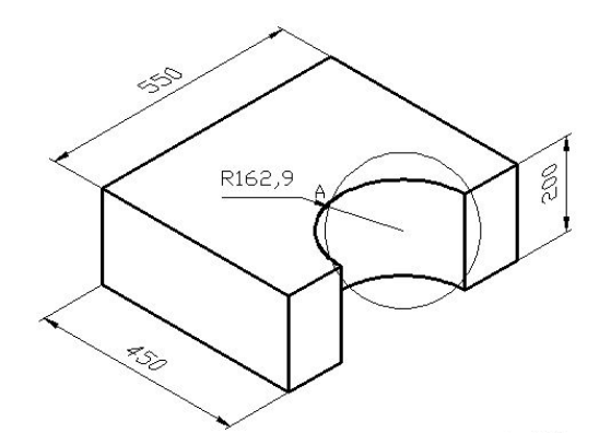
4、圆的尺寸标注:
(1)圆的轴测图为椭圆,不能直接标注:

(2)以椭圆的中心为圆心,适当长为半径,画一个圆,与椭圆相交于A点:

(3)标注圆的半径,箭头尽量靠近A点,尺寸是不对的:

(4)用ED命令修改错误的R162.9,改为正确的R150,并删除标记A和辅助圆,得到正确的标注:

点击排行
CAD多种快速移动图形的方法