您现在的位置是:首页 > 电路图 > 电路图
时间流程中继电器吸合的定时器电路图
转载来源:电子技术应用-AET chinaaet.com 电子发烧友 elecfans.com2017-03-16
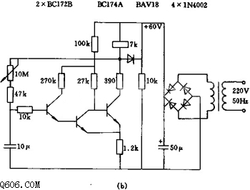
简介图a电路中有两级电路结构,其定时时间约为0.5~12s,图b有点~160s范围的定时时间。 变压器参数:铁芯:M42/15.7硅钢片 绕组:0.18mm铜漆包线路1200匝。
图a电路中有两级电路结构,其定时时间约为0.5~12s,图b有点~160s范围的定时时间。
变压器参数:铁芯:M42/15.7硅钢片 绕组:0.18mm铜漆包线路1200匝。

