PLC技术
PLC技术
-
什么是趋势图?如何在WinCC中生成在线趋势图
PLC技术
(1) 以时问为横轴、数值为纵轴,显示数据随时间变化的趋势图形称为趋势图。 (2) 打开“图形编辑器”,在右侧的“对象选项板”巾,在“控件”标签中选择“ WinCC o nline Trend Control ”...
阅读更多 -
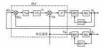
S7-300/400PLC同步控制实现技术方法
PLC技术
由于本条生产线分印刷和糊口 2个部分,分别由2台电动机拖动,每台电动机配备1个ACS800变频器;底贴部由1台色标电动机拖动,并配备1台ACS800变频器与糊口主电动机同步运行,其底贴的...
阅读更多 -
定氧加铝控制系统概述
PLC技术
定氧加铝工艺是炼钢厂铝镇静钢冶炼过程的重要工序之一,对减少钢中的杂质、改善钢的品质、减少钢水在吹氩站的滞留时间、提高转炉与铸机节奏的协调能力和转炉作业率起着重要的...
阅读更多 -
PLC使用的通信介质有哪些
PLC技术
通信介质就是在通信系统中位于发送端与接收端之间的物理通路。通信介质一般可分为导向性和非导向性介质两种。导向性介质有双绞线、同轴电缆和光纤等,这种介质将引导信号的传...
阅读更多 -
瀹氭哀鍔犻摑鑷姩鎺у埗绯荤粺
...
阅读更多 -
什么是PLC异步通信
PLC技术
异步通信是一种很常用的通信方式。异步通信在发送字符时,所发送字符之间的时间间隔可以是任意的。当然,接收端必须时刻做好接收的准备(如果接收端主机的电源都没有加上,那...
阅读更多 -
MM440变频器的控制
PLC技术
选择 MM440变频器对电动机进行一对一的控制,并通过其PROFIBUS模块实现与主站PLC的DP通信。通过对负载转矩及电动机容量的计算,选择三相交流额定电压为380V、额定功率为22kW的MM440变频...
阅读更多 -
什么是PLC同步通信
PLC技术
同步通信是指通信双方必须先建立同步,即双方的时钟要调整到同一个频率,收、发双方不停地发送和接收连续的同步比特流。但这时还有两种不同的同步方式:一种是使用全网同步,...
阅读更多 -
铁水预处理脱硫喷吹系统概述
PLC技术
1.系统主要设备 某钢铁公司铁水预处理脱硫工艺主要包括粉料储存系统、供气系统、喷吹系统和除尘系统。其中粉料储存系统主要是将脱硫剂粉料从料仓送出并经旋转给料器进入分配...
阅读更多 -
什么是PLC串行通信
PLC技术
1) 串行通信 串行通信是指使用一根数据信号线一位一位地传输数据,每一位数据都占据一个固定的时间长度。“串行”只是指外设与接口电路之间的信息传送方式, CPU 与接口之间仍按...
阅读更多
点击排行
PLC编程的基本规则
