您现在的位置是:首页 > 电气技术 > 电气技术
西门子plc输入输出电源接法
来源:艾特贸易2017-11-01
简介西门子plc的系列很多,不同系列它的接线方式、接线方法可能都不一样。这里我以S7200说一下吧。 S7200根据CPU不同,CPU221、CPU222、CPU224、CPU224XP、CPU226,供电的方式也不同。无非就两种供
西门子plc的系列很多,不同系列它的接线方式、接线方法可能都不一样。这里我以S7200说一下吧。
S7200根据CPU不同,CPU221、CPU222、CPU224、CPU224XP、CPU226,供电的方式也不同。无非就两种供电:直流供电+交流供电。一般接线端子旁有DC或AC标识。

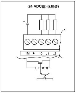
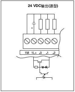
以晶体管输出PLC来说,一般输入和输出类型都有两种,分别是漏型输入、源型输入,漏型输出、源型输出。很据不同的类型,不同接法,防止电流冲突,极性接法可能会烧毁点。
1、漏型输入:1M端接-,输入信号端子接+。

2、源型输入:1M端接+,输入信号端子接-。

3、漏型输出:1M端接-,输入信号端子接负载,负载另一端接+。

4、源型输出:1M端接-,1L+接+,输入信号端子接负载,负载另一端接-。

一定型号确定,公共端1M与2M即可同时极性一致。
点击排行
室内风扇电机和霍尔元件的检测