您现在的位置是:首页 > 电气技术 > 电气技术
局部等电位联结的做法图纸
来源:艾特贸易2017-03-18
简介局部等电位联结的做法图纸 局部等电位联结的做法在图纸中是不画的,只用文字表示。具体做法如下: 在卫生间内将各种金属管道、结构件(包括混凝土楼板中的钢筋)以及进入卫生间内
局部等电位联结的做法图纸
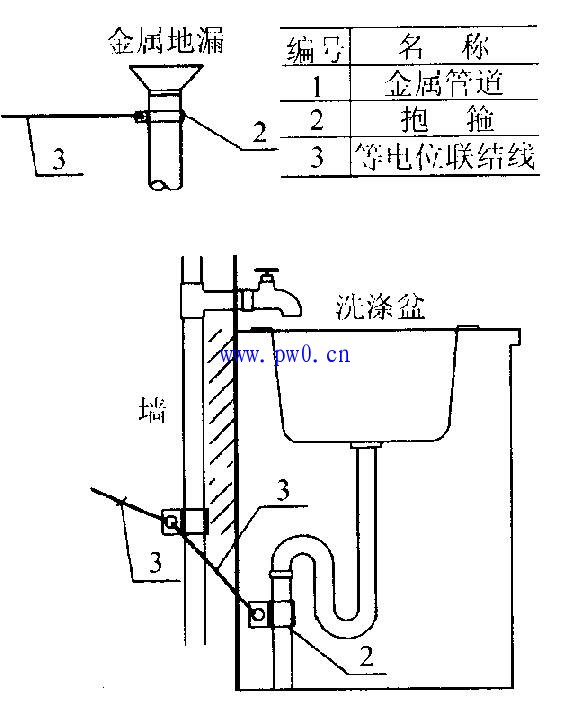
局部等电位联结的做法在图纸中是不画的,只用文字表示。具体做法如下:
在卫生间内将各种金属管道、结构件(包括混凝土楼板中的钢筋)以及进入卫生间内的视线,用不小于4mm2的铜芯线,通过等电位联结端子箱互相连通.如图3所示。 等电位联结导线在地板或墙内暗敷时要穿塑料管保护,其目的是更换导线方便。等电位联结范围内的金属管道等金属体与等电位联结箱内的端子排之间的电阻不应大于5。卫生间内的金属管道的连接处一般不需加跨接线,若发现导通不良时,应作跨接。当卫生间内的水管是塑料管或包塑金属管时,等电位跨接线可接在自来水龙头上;采用金属水管时,跨接线直接接在水管上。卫生间内的污水管因与进水管之间是不通的,因此污水管也要作等电位联结,可接在地漏的管子上。
看完上面的介绍,你觉得等电位的安装是否有必要?我觉得很有必要,等电位的安装完全是对自己的生命在负责!千万不要因为美观而拆除,也不要因为省钱而废弃
点击排行
室内风扇电机和霍尔元件的检测